菠菜源码
H5源码
区块链
投资理财
棋牌源码
电玩游戏
综合源码
登录
全站
综合源码
电玩游戏
投资理财
区块链
棋牌源码
菠菜源码
H5源码
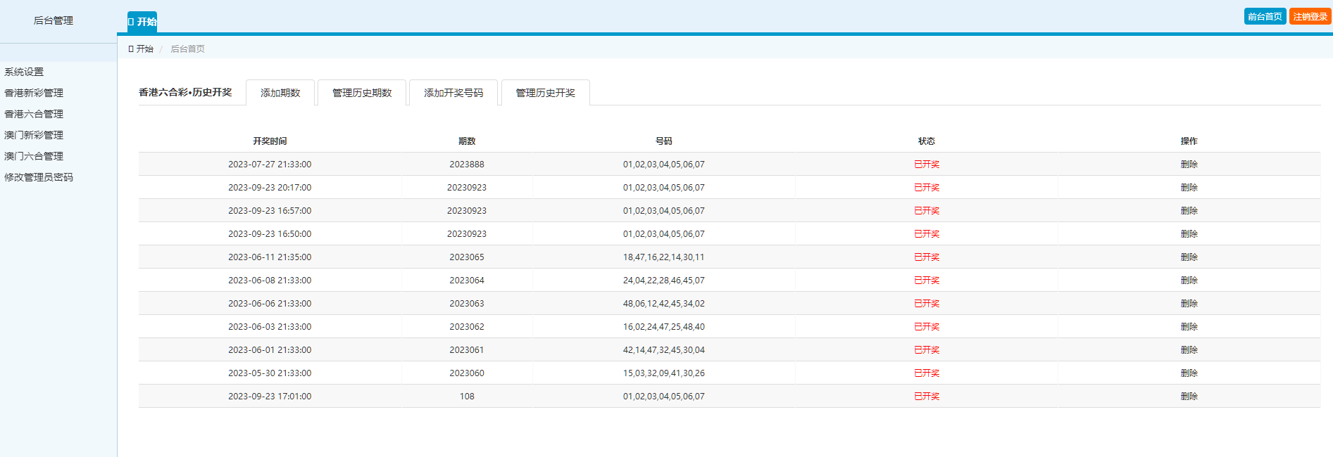
六合论坛源码/六合彩开奖网站/香港六合资料图库源码
资源分类:
菠菜源码
浏览热度: (14)
发布时间: 2025-05-24
最近更新: 2025-05-24
本资源需权限下载
普通用户:
48USDT
VIP会员:
免费
永久会员:
免费
购买下载权限
详情介绍
常见问题
广告按钮
免费赠送插件
付费二开修改
源码长期售后
购买自动发货